水管道流量計安裝位置
水管道流量計正確選擇安裝位置
正確地選擇安裝位置和正確安裝水管道流量計都是非常重要的環節,若在安裝環節失誤,輕者影響測量精度,重者會影響水管道流量計的使用壽命,甚至會損壞水管道流量計。選擇安裝位置時應注意以下問題:
1.測量電極的軸線必須近似于水平方向(與水平線夾角一般為 10°以內)

2.測量管道內必須完全充滿液體。
3.水管道流量計的前方*少要有 5×D(D 為流量計內徑)長度的直管段,后方*少要有 2×D(D為流量計內徑)長度的直管段。

4.流體的流動方向和水管道流量計的箭頭方向一致。
5.管道內要有真空會損壞水管道流量計的內襯,需特別注意。
6.在水管道流量計附近應無強電磁場,儀表安裝場所的磁場強度應小于 400A/m(避免安裝在大型電機或變壓器等設備附近)。
7.若測量管道有振動,在水管道流量計的兩邊應有固定的支座。
8.測量不同介質的混合液時,混合點與水管道流量計之間的距離*少要有 30×D(D 為流量計內徑)。
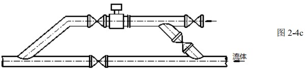
9.為方便今后水管道流量計的清洗和維護,應安裝旁通管道。

10.安裝聚四氟乙烯內襯的水管道流量計時,連接兩法蘭的螺栓應注意均勻擰緊,否則容易壓壞聚四氟乙烯內襯,*好用力矩扳手。
11.儀表應避免強烈振動和過大的溫度變化,同時要防止腐蝕性液體的滴漏對儀表造成損害。
12.如果安裝地點易受陽光曝曬,應當增加遮蔽設施。
13.安裝傳感器時,應保證測量管與工藝管道同軸。對 50mm 及以下公稱通徑的傳感器,其軸線偏離不超過 2mm。DN65~DN150 其軸線偏離不超過 3mm,≥DN200 其軸線偏離不超過 4mm。
14.法蘭之間加裝的法蘭墊圈,應有良好的耐腐蝕性能,該墊圈不得伸入管道內部。
15.緊固儀表螺栓、螺母,其螺紋應完整無損,潤滑良好。應依據法蘭尺寸、力矩大小采用力矩扳手緊固螺栓。
16.在傳感器鄰近管道進行焊接或火焰切割時,要采用隔離措施,防止襯里受熱,且必須確認儀表未通電運行,防止損壞儀表。
上一篇:水管道流量計顯示偏低原因
下一篇:水管道流量計材質的選擇


